1、直角形的折彎方法
先剪好所用尺寸的薄鐵皮,然后在要彎的地方劃線,在臺虎鉗上彎制。如圖1所示,把鐵皮要彎折的線對齊虎鉗口并夾緊,然后用橡膠錘敲打鐵皮即可。
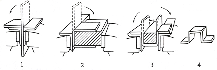
2、S形的折彎方法剪好薄鐵皮、劃好線,在臺虎鉗上彎制。折彎S形板的步驟可按圖2進行,按第1步驟先折出一個直角彎,然后再按第2步驟折第二個直角彎。
剪好薄鐵皮、劃好線,在臺虎鉗上彎制。折彎幾形板的步驟可按圖3進行。按第1步驟先折出一個直角彎,然后把鐵皮夾在一塊方木塊上,再彎第二個直角彎,使其成為一個兩邊對稱的幾形彎,再換用另一塊木塊,按第3步驟把玎形彎的兩邊折為直角。木塊也可以用角鋼或槽鋼來代替。
剪好薄鐵皮、劃好線,在臺虎鉗上彎制。折彎U形板的步驟可按圖4進行。先把鐵皮一頭夾在臺虎鉗上,用一截圓鋼管墊著,用錘打鋼管,使鐵皮變形成一定的圓弧狀,然后按第2步驟換衣鐵皮另一頭,繼續(xù)用鋼管墊著打至變形,最后折彎即成。
