四路4-20mA電流輸出遠程I/O模塊型號:YR-9754A

電流輸出遠程I/O模塊特點
◆電流輸出遠程I/O模塊低功耗、低溫漂、自動零點校準
◆4路4-20mA輸出信號之間/通訊/電源完全隔離
◆YR-9754A支持帶電熱插拔
◆YR-9754A支持背板導軌和接線端子兩種方式供電和通訊
◆支持MODBUS RTU通訊協(xié)議,通訊速率高達115200bps
◆四路4-20mA電流輸出遠程I/O模塊與以太網網關YR-9710A配合使用支持MODBUS TCP/IP,簡化安裝和維護流程,提升數據傳輸性能
電流輸出遠程I/O模塊技術指標
◆供電:24VDC
◆輸出信號:4-20mA(輸出阻抗≤500Ω)
◆輸出通道:4路(4路AO)
◆負載電阻:250-750Ω
◆通訊接口:RS485
◆通訊協(xié)議:MODBUS RTU
◆精度:0.10%
◆溫度漂移:0.005%FS/℃
◆波紋:<10mVrms
◆響應時間:≤10ms
◆電流輸出遠程I/O模塊組態(tài)方式:PC可編程
◆電磁兼容:IEC61326
◆隔離能力:1500VAC
◆工作溫度:-20℃~+60℃
◆存儲溫度:-40℃~+85℃
◆環(huán)境濕度:≤95%ARH非凝結
◆防護等級:1P20
◆電流輸出遠程I/O模塊外形尺寸:17.5×90×110mm(寬×高×深)

◆電流輸出遠程I/O模塊為低功耗長壽命設計,6年質保,滿足工業(yè)現場高可靠性長期穩(wěn)定運行需求
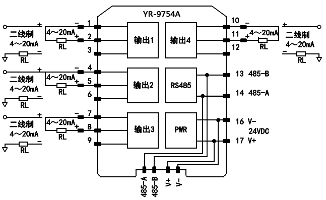
電流輸出遠程I/O模塊接線圖

